TOP1 无人机遥感控制平台电路
无人机相比较卫星和载人航空飞机遥感平台而言,具有成本低、灵活性高的特点。为了满足科学遥感实验、完成遥感作业任务、协调无人机电子吊舱中多组件工作、控制遥感影像传感器姿态,系统以AT89S52为主控芯片,扩展多路串口及USB接口以实现系统与外围设备的通信,同时设计了相机驱动模块及三自由度步进电机驱动模块。通过无人机航空遥感实验证明该系统能够满足遥感实验要求。
USB接口扩展电路设计
USB口扩展由CH375芯片实现。CH375是USB总线的通用接口芯片。它的主要特点是价格便宜、接口方便、可靠性高。支持 USB-HOST主机方式和USB-DEVICE/SLAVE设备方式。CH375的USB主机方式支持常用的USB全速设备,外部单片机需要编写固件程序按照相应的USB协议与USB设备通信。但是对于常用的USB存储设备,CH375的内置固件可以自动处理Mass-Storage海量存储设备的专用通信协议,通常情况下,外部单片机不需要编写固件程序.就可以直接读写USB存储设备中的数据。CH375和单片机的通信有2种方式:并行方式和串行方式。USB扩展电路原理图如图3所示,CH375芯片设置为内置固件模式,使用12 MHz晶体。单片机P0口与CH375的D0~D7相连作为数据总线,译码器输出CH375的相连片选该芯片,单片机A0与CH375的A0相连,可选择 CH375的地址或是数据输入与输出。当A0为高电平是D0~D7的传输的是地址,低电平时传输的是数据。P3.6和P3.7分别控制CH375的读写操作。CH375接单片机输入端,当有数据通过USB口输入时产生中断信号,通知单片机进行数据处理。当CH375芯片初始化后并成功与主机连通之后,指示灯亮。

步进电机驱动电路
稳定云台控制即为三自由度步进电机控制,即控制遥感传感器的俯仰角、横滚角和航向角使稳定云台保持水平(或垂直)状态。步进电机驱动由THB6128芯片实现,单片机只需输出步进电机运行方向和脉冲信号即可达到控制步进电机的目的。
THB6128是高细分两相混合式步进电机驱动专用芯片,通过单片机输出控制信号,即可设计出高性能、多细分的驱动电路。其特点为双全桥 MOSFET驱动,低导通电阻Ron=0.55 Ω,最高耐压36 V,大电流2.2 A(峰值),多种细分可选,最高可达128细分,具有自动半流锁定功能,快衰、慢衰、混合式衰减3种衰减方式可选,内置温度保护及过流保护。图4为航向角步进电机驱动电路,俯仰角、横滚角步进电机驱动与之相同。图中CP1与U/D分别为单片机给出的驱动脉冲与电机运行方向控制信号。M1,M2,M3为电机驱动细分数选择信号输入,由拨码开关人为控制。FDT1与VREG1分别为衰减模式选择电压与电流控制电压输入端。当3.5 V时为慢衰减模式;当为混合衰减模式;当FDT1《0.8 V时为快衰减模式。调整VREG1端电压即可设定步进电机驱动电流值。

CCD/相机驱动电路设计
CCD/相机驱动由单稳态触发器74LS221和光耦合器P521实现。74LS221既可以下降沿触发也可上升沿触发,且都可以禁止输出。其输出的脉宽通过内部补偿获得而不受外部电压和稳定影响,在大多数应用中,脉宽只由外接的时控元件决定。CCD/相机驱动电路如图5所示。图示参数的单稳态触发器高电平持续时间约为33 ms,可根据相机的实际曝光时间的需要,改变电路的充电时间常数RC来调节稳态时间的长短。图中Camera为单片机P3.5口,当其为下降沿时,触发单稳态触发器输出高电平,此高电平作用于光耦合器P521的二极管端,从而触发三极管端导通,进而触发相机快门。P521的输出端串接一个10kΩ的电阻,防止导通时电流过大而损坏相机。

数据存储模块由AT24C512实现,单片机P3.0,P3.1口分别与AT24C512的SCL、SDL端口相连,并接入上拉电阻,模拟 I2C总线扩展 64 KB E2PROM数据存储器。SRAM扩展由IDT6116SA芯片实现,扩展2 KB用于缓存单片机计算过程中的临时数据。系统输入电压为12 V直流电,电源模块采用7805与7805两片三端稳压器串接,降低单片稳压器两端的压降,获得平稳的+5 V电压。|
通过实验证明本系统可以较好的满足无人机航空遥感平台机载作业控制的要求,可以协调电子吊舱的各个组件工作,控制相机的姿态,实时下传机载作业数据,使用的I/O口较少,USB接口的扩展解决了当前许多笔记本电脑不具备COM口的问题,在野外实验时亦可及时的处理作业系统中的照片信息数据。单片机仍还有较多的资源可以利用,可方便系统的升级,但同时也受到微处理器数据处理能力的限制。

TOP2 嵌入式无人机控制系统硬件电路
在无人机飞行控制系统中,飞行控制器是其核心部件,它负责飞行控制系统信号的采集、控制律的解算、飞机的姿态和速度,以及与地面设备的通讯等工作。随着无人机越来越广泛的应用,它所完成的任务也越来越复杂,对无人机的机动性要求也越来越高,这就要求无人机的控制核心向高集成度和小型化方向发展。本文以586-Engine 嵌入式芯片为核心,设计了某型无人机的飞行控制器。基于AMD Elan SC520处理器的微控制模块,具有高可靠性、结构紧凑以及低功耗等特点,它同时具有功能强大的调试软件。586-Engine的主要参数指标如下:
(1)CPU为32位AMD Elan SC520,主频为133MHz;(2)具有高性能的浮点运算单元,支持正弦、正切、对数等复杂运算,非常适合需要复杂运算的应用。(3)配置512KB 的SRAM,512KB的Flash,114字节内部RAM;(4)支持15个外部中断。共有7个定时器,包括一个可编程内部定时器,提供3个16位内部定时器和3个16位GP定时器,再加上一个软件定时器。这些定时器支持外部事件的计时和计数。软件定时器提供微秒级的硬件时间基准。(5)提供32路可编程I/O,2个UART.共有19路12位A/D输入,包括11路ADC串行输入和8路并行ADC,转换频率为300kHz;6路D/A输出,包括2个串行输出DAC和4个输出并行12位DAC,转换频率为200kHz。(6)工作温度为-40℃~80℃,尺寸为91.4mm&TImes;58.4mm&TImes;7.6mm。
飞行控制器硬件设计
该型无人机是为海军野战部队提供通讯中继用途的中型轮式无人机,其飞行控制器是一个单独装箱的小型航空机载电子设备,由DC/DC直流电源变换板、计算机主机板、模拟量通道板、开关量通道板和舵机控制板组成,全部模板通过母板上的总线方式连接,以减小尺寸,提高集成度。
该飞行控制器需要与GPS、磁航向计和无线电高度表等进行通讯,共需5个串口。而586-Engine主板只提供2个串口,分别供地面检测和测控电台使用,因此需要进行串口扩展。串口扩展电路如图3所示。

串口扩展电路中采用TL16C754四通道UART并-串转换器件,将8位并行数据转换成4路串行输出,外加MAX202和MAX489电平转换芯片,扩展了2个RS232串口和2个RS422串口,可满足飞行控制器的硬件需求。
D/A转换硬件电路设计
此型无人机采用模拟舵机,共需6路D/A通道产生PWM信号来驱动舵机。586-Engine主板总共提供8路D/A,其中4路12位并行 D /A(DA7625)分别控制升降舵机、左右副翼舵机和方向舵机,2路12位串行D/A(LTC1446)控制前轮舵机和油门舵机。由于DA7625的输出电压范围为0~2.5V,LTC1446输出电压范围为0~4.096V,而舵机工作电压为-10~10V,因此需要对信号进行放大和电平平移。D/A 电平平移电路如图所示。

由图可知,D/A电平转换原理是在运放输入端采用加法电路,将输入信号与基准电平比例相加,得到适合采样的电压范围。关于A/D采集,586- Engine主板上自带的19路12位的A/D接口完全满足飞控系统通道数和转换精度的要求,这些A/D接口分别采集气压高度表的数据,无人机机载电压、发动机转速和温度、油门开度等。这些信号发往地面测控计算机,为操作人员对无人机工作状态进行监控提供了基础。关于I/O控制,586- Engine主板上提供了32个16位可编程数字I/O口,用于采集发动机启动信号、伞舱打开信号等,并输出开关量信号控制其它设备,控制无人机起飞与回收过程。
电源模块硬件电路设计
飞行控制器的电源模块电路给飞行控制器提供干净稳定的供电电压,用来保证飞行控制器正常工作。电源模块电路的设计好坏直接影响飞行控制器运行的稳定性和可靠性。该型无人机由于对尺寸有一定的要求,同时考虑到可靠性与成本,因此在设计时选用了成熟的标准模块电源,外接少量器件即可工作。飞行控制器供电模块电路如图5所示。

其中,采用24T05D12模块电源作为供电电路的主芯片,提供的功率为30W,输入电压范围为18V~36V,具有三路电源输出:+5V 和±12V,为机载传感器和舵机进行供电。嵌入式芯片的使用,减小了飞行控制器的体积与重量,实现了飞行控制器小型化、高集成度的设计目标;自行设计的串口扩展电路、舵机控制板等降低了研制成本,满足了项目需求方的要求。可以预见,586-Engine特有的功能以及较高的性价比将在无人机飞行控制领域得到广泛的应用。
TOP3 UAV电源管理系统电路
由于在民用及国防等诸多领域中的广泛应用, 空中机器人技术已经越来越被人们所重视, 并吸引了各国专家学者的注意。小型旋翼机器人是以模型直升机为载体, 装备上传感器单元, 控制单元和伺服机构等装置以实现自主飞行。而为了提高飞机的安全性, 需要设计一套设备监测系统, 实时的监测飞机的姿态信息, 机载设备的状况以及电源的情况等。
该平台所使用的电源是两节锂电池串联组成的电池组, 利用锂离子电池的充放电特性, 设计了一套以mega16l 为核心的充放电管理系统。锂电池具有体积小、能量密度高、无记忆效应、循环寿命高、高电压电池和自放电率低等优点, 与镍镉电池、镍氢电池不太一样的是必须考虑充电、放电时的安全性,以防止特性劣化。因此在系统运行过程中, 为了保护锂电池的安全, 设计了一套欠压保护电路, 以防止电源管理系统因过用而发生电池特性和耐久性特性劣化。
电源管理系统总体框架
无人机电源管理系统是飞机实现自主飞行的重要组成部分, 其大致框架如图1 所示。在该系统中, 利用AXI 公司生产的2212/ 34 型号发电机将动能转换为220V 交流电, 再经过整流稳压后输出11.6V 的直流电压, 可由该输出电压为两节锂电池充电。电源管理系统的控制器是meg a161单片机, 该控制器通过检测两节锂电池的电压大小从而控制继电器开关来对电池进行充放电管理。

图1 电源管理系统框架
控制器采集到电源系统中的信息后, 通过无线传输设备将该数据实时传输给地面。地面监控平台还可以发送一些指令给mega16l, 通过控制继电器开关来控制电池充放电, 从而实现监测和控制飞机的目的。机上电源模块由两节英特曼电池有限公司生产的锂电池组成, 电池组电量充足时电压为8?? 4V.电池的荷电量与整个供电系统的可靠性密切相关, 电池剩余电量越多, 系统的可靠性越高, 因此飞行时能实时获得电池的剩余电量, 这将大大提高飞机的可靠性。
电源监控系统的实现
直升机能顺利完成飞行任务, 充足的电源供应不可或缺。
由锂电池的特性可知, 在过度放电的情况下, 电解液因分解而导致电池特性劣化并造成充电次数降低。因此为了保护电池的安全, 电源系统在给控制系统供电前要经过欠压保护模块和稳压模块。为了预测电源系统中剩余的电量, 这里采用检测电源系统电压的方法, 在测得系统的电源电压后, 查找由放电曲线建立的数据库, 就能估计出电源系统中所剩余的电量。
单片机所需要的电源电压是2. 7 ~ 5.5V, 因此可为meg a16l 设计外部基准电压为2.5V, 该基准稳压电路如图2所示。所以系统要检测电池的电压, 需要将电池用电阻进行分压且最大分得的电压值不能超过2.5V.控制器测得的电压值乘上电压分压缩小的倍数后, 就能得到电源系统中的实时电压。时刻监测锂电池的用电情况, 防止电池过用现象出现, 就能达到有效使用电池容量和延长寿命的目的。

图2 基准电压电路
直流无刷电机电路
无刷直流电机是由电动机主体和驱动器组成, 是一种典型的机电一体化产品。直流无刷电机与一般直流电机具有相同的工作原理和应用特性, 而其组成是不一样的, 除了电机本身外, 前者还多一个换向电路, 直流无刷电动机的电机本身是机电能量转换部分, 它除了电机电枢、永磁励磁两部分外, 还带有传感器。该发电机的部分AC-DC 电路如图3 所示。

图3 无刷电机AC-DC 电路
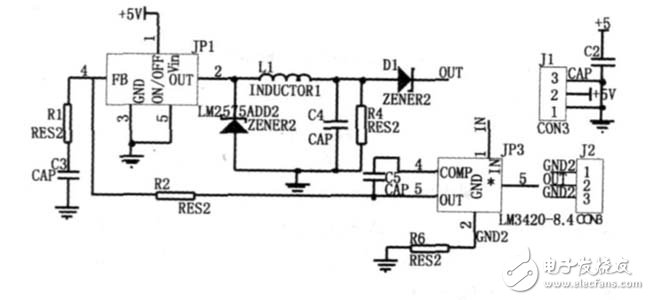
充电电路
锂离子电池的充电特性和镍镉、镍氢电池的充电特性有所不同, 锂离子电池在充电时, 电池电压缓慢上升, 充电电流逐渐减小, 当电压达到4.2V 左右时, 电压基本不变, 充电电流继续减小。因此对于改型充电器可先用先恒流后恒压充电方式进行充电, 具体充电电路如图4 所示。该电路选用LM2575ADJ 组成斩波式开关稳压器, 最大充电电流为1A.

图4 高效开关型恒流/ 恒压充电器部分电路
该电路工作原理如下: 当电池接入充电器后, 该电路输出恒定电流, 对电池充电。该充电器的恒流控制部分由双运放LM358 的一半、增益设定电阻R3 和R4 、电流取样电阻R5 和1. 23V 反馈基准电压源组成。刚接入电池后, 运放LM358 输出低电平, 开关稳压器LM2575-ADJ 输出电压高, 电池开始充电。当充电电流上升到1A 时, 取样电阻R5 (50m 欧) 两端压降达到50mV, 该电压经过增益为25 的运放放大后, 输出1.23V 电压, 该电压加到LM2575 的反馈端, 稳定反馈电路。
当电池电压达到 8.4V 后, LM3420 开始控制LM2575ADJ 的反馈脚。LM3420 使充电器转入到恒压充电过程, 电池两端电压稳定在8?? 4V.R6 、R7 和C3 组成补偿网络, 保证充电器在恒流/ 恒压状态下稳定工作。若输入电源电压中断, 二极管D2 和运放LM358 中的PNP 输入级反向偏置, 从而使电池和充电电路隔离, 保证电池不会通过充电电路放电。当充电转入恒压充电状态时, 二极管D3 反向偏置, 因此运放中不会产生灌电流。
TOP4 电源欠压保护电路
电源欠压保护由锂电池的电池放电特性易知, 当电池处于3.5V 时, 此时电池电量即将用完, 应及时给电池充电, 否则电池电压将急剧下降直至电池损坏。于是设计了一套欠压保护电路如图5 所示, 利用电阻分压所得和由TL431 设计的基准电压比较, 将比较结果送人LM324 放大电路进而触发由三极管构成的开关系统, 从而控制负载回路的通阻。试验证明, 当系统电压达到临界危险电压7V 时, 系统的输出电流仅为4mA, 从而防止了系统锂电池过度放电现象的产生。

图5 欠压保护电路
由于锂离子电池能量密度高, 因此难以确保电池的安全性。在过度充电状态下, 电池温度上升后能量将过剩, 于是电解液分解而产生气体, 因内压上升而发生自燃或破裂的危险;反之, 在过度放电状态下, 电解液因分解导致电池特性及耐久性劣化, 从而降低可充电次数。该充电电路和本管理系统能有效的防治锂电池的过充和过用, 从而确保了电池的安全, 提高锂电池的使用寿命。
本文设计了一套UAV 电源管理系统, 该系统具有自动控制充放电管理, 实时监测电池电压等功能。该系统已经经过调试和试验验证了其可行性, 但是为了保证飞机安全, 还要做更多的试验以保证无人机自主飞行的安全和稳定。除此之外, 高低频滤波, 电池电量预测等也是重要的方向, 需要深入的研究。现今, 锂电池的使用范围越来越广, 其价格也相对适中,如果掌握先进的科学的使用方法, 让锂电池发挥应有的最大效用, 将会节省大量的资源和财富。
小型无人机飞控系统设计详解
小型无人机在现代军事和民用领域的应用已越来越广泛。在经历了早期的遥控飞行后,目前其导航控制方式已经发展为自主飞行和智能飞行。导航方式的改变对飞行控制计算机的精度提出了更高的要求;随着小型无人机执行任务复杂程度的增加,对飞控计算机运算速度的要求也更高;而小型化的要求对飞控计算机的功耗和体积也提出了很高的要求。高精度不仅要求计算机的控制精度高,而且要求能够运行复杂的控制算法,小型化则要求无人机的体积小,机动性好,进而要求控制计算机的体积越小越好。
在众多处理器芯片中,最适合小型飞控计算机CPU的芯片当属TI公司的TMS320LF2407,其运算速度以及众多的外围接口电路很适合用来完成对小型无人机的实时控制功能。它采用哈佛结构、多级流水线操作,对数据和指令同时进行读取,片内自带资源包括16路10位A/D转换器且带自动排序功能,保证最多16路有转换在同一转换期间进行,而不会增加CPU的开销;40路可单独编程或复用的通用输入/输出通道;5个外部中断;集成的串行通信接口(SCI),可使其具备与系统内其他控制器进行异步(RS 485)通信的能力;16位同步串行外围接口(SPI)能方便地用来与其他的外围设备通信;还提供看门狗定时器模块(WDT)和CAN通信模块。
飞控系统组成模块
飞控系统实时采集各传感器测量的飞行状态数据、接收无线电测控终端传输的由地面测控站上行信道送来的控制命令及数据,经计算处理,输出控制指令给执行机构,实现对无人机中各种飞行模态的控制和对任务设备的管理与控制;同时将无人机的状态数据及发动机、机载电源系统、任务设备的工作状态参数实时传送给机载无线电数据终端,经无线电下行信道发送回地面测控站。按照功能划分,该飞控系统的硬件包括:主控制模块、信号调理及接口模块、数据采集模块以及舵机驱动模块等。具体的硬件构成原理如图1所示。

模块功能
各个功能模块组合在一起,构成飞行控制系统的核心,而主控制模块是飞控系统核心,它与信号调理模块、接口模块和舵机驱动模块相组合,在只需要修改软件和简单改动外围电路的基础上可以满足一系列小型无人机的飞行控制和飞行管理功能要求,从而实现一次开发,多型号使用,降低系统开发成本的目的。系统主要完成如下功能:
(1)完成多路模拟信号的高精度采集,包括陀螺信号、航向信号、舵偏角信号、发动机转速、缸温信号、动静压传感器信号、电源电压信号等。由于CPU自带A/D的精度和通道数有限,所以使用了另外的数据采集电路,其片选和控制信号是通过EPLD中译码电路产生的。
(2)输出开关量信号、模拟信号和PWM脉冲信号等能适应不同执行机构(如方向舵机、副翼舵机、升降舵机、气道和风门舵机等)的控制要求。
(3)利用多个通信信道,分别实现与机载数据终端、GPS信号、数字量传感器以及相关任务设备的通信。由于CPU自身的SCI通道配置的串口不能满足系统要求,设计中使用多串口扩展芯片28C94来扩展8个串口。
系统软件设计
该系统的软件设计分为2部分,即逻辑电路芯片EPLD译码电路的程序设计和飞控系统的应用程序设计。
逻辑电路程序设计
EPLD 用来构成数字逻辑控制电路,完成译码和隔离以及为A/D,D/A,28C94提供片选信号和读/写控制信号的功能。该软件的设计采用原理图输入和 VERILOG HDL语言编程的混合设计方式,遵循设计输入→设计实现→设计校验→器件编程的流程。系统使用了两片ispLSI1048芯片,分别用来实现对 A/D,D/A的控制和对串口扩展芯片28C94的控制。
系统应用程序设计
由于 C语言不但能够编写应用程序、系统程序,还能像汇编语言一样直接对计算机硬件进行控制,编写的程序可移植性强。由于以DSP为核心设计的系统中涉及到大量对外设端口的操作,以及考虑后续程序移植的工作,所以飞控系统的应用程序选用BC 3.1来设计,分别实现飞行控制和飞行管理功能。
软件按照功能划分为4个模块:时间管理模块、数据采集与处理模块、通信模块、控制律解算模块。通过时间管理模块在毫秒级时间内对无人机进行实时控制;数据采集模块采集无人机的飞行状态、姿态参数以及飞行参数、飞行状态及飞行参数进行遥测编码并通过串行接口传送至机载数据终端,通过无线数据信道发送到地面控制站进行飞行监控;姿态参数通过软件内部接口送控制律解算模块进行解算,并将结果通过D/A通道送机载伺服系统,控制舵机运行,达到调整、飞机飞行姿态的目的;通信模块完成飞控计算机与其他机载外设之间的数据交换功能。
利用高速DSP控制芯片在控制律计算和数据处理方面的优势及其丰富的外部资源,配合大规模可编程逻辑器件CPLD以及串行接口扩展芯片28C94设计小型机载飞控计算机,以其为核心设计的小型无人机飞控系统具有功能全,体积小,重量轻,功耗低的特点,很好地满足了小型无人机对飞控计算机高精度、小型化、低成本的要求。该设计已成功应用于某验证无人机系统。
TOP5 无人机技术各模块详解与技术分析
如今无人机成为了展会最大的热点之一,大疆(DJI)、Parrot、3D RoboTIcs、AirDog等知名无人机公司都有展示他们的最新产品。甚至是英特尔、高通的展位上展出了通信功能强大、能够自动避开障碍物的飞行器。无人机在2015年已经迅速地成为现象级的热门产品,甚至我们之前都没有来得及细细研究它。与固定翼无人机相比,多轴飞行器的飞行更加稳定,能在空中悬停。主机的硬件结构及标准的遥控器的结构图如下图。

四轴飞行器系统解析图

遥控器系统解析图
以上只是标准产品的解剖图,有些更加高级的如针对航模发烧友和航拍用户们的无人机系统,还会要求有云台、摄像头、视频传输系统以及视频接收等更多模块。
飞控的大脑:微控制器
在四轴飞行器的飞控主板上,需要用到的芯片并不多。目前的玩具级飞行器还只是简单地在空中飞行或停留,只要能够接收到遥控器发送过来的指令,控制四个马达带动桨翼,基本上就可以实现飞行或悬停的功能。意法半导体高级市场工程师介绍,无人机/多轴飞行器主要部件包括飞行控制以及遥控器两部分。其中飞行控制包括电调/马达控制、飞机姿态控制以及云台控制等。目前主流的电调控制方式主要分成BLDC方波控制以及FOC正弦波控制。
高通和英特尔推的飞控主芯片
CES上我们看到了高通和英特尔展示了功能更为丰富的多轴飞行器,他们采用了比微控制器(MCU)更为强大的CPU或是ARM Cortex-A系列处理器作为飞控主芯片。例如,高通CES上展示的Snapdragon Cargo无人机是基于高通Snapdragon芯片开发出来的飞行控制器,它有无线通信、传感器集成和空间定位等功能。Intel CEO Brian Krzanich也亲自在CES上演示了他们的无人机。这款无人机采用了“RealSense”技术,能够建起3D地图和感知周围环境,它可以像一只蝙蝠一样飞行,能主动避免障碍物。英特尔的无人机是与一家德国工业无人机厂商Ascending Technologies合作开发,内置了高达6个英特尔的“RealSense”3D摄像头,以及采用了四核的英特尔凌动(Atom)处理器的PCI- express定制卡,来处理距离远近与传感器的实时信息,以及如何避免近距离的障碍物。这两家公司在CES展示如此强大功能的无人机,一是看好无人机的市场,二是美国即将推出相关法规,对无人机的飞行将有严格的管控。

Paul Neil说:xCORE多核微控制器拥有数量在8到32个之间的、频率高达500MHz 的32位RISC内核。xCORE 器件也带有Hardware Response I/O接口,它们可提供卓越的硬件实时I/O性能,同时伴随很低的延迟。“这种多核解决方案支持完全独立地执行系统控制与通信任务,不产生任何实时操作系统(RTOS)开销。xCORE微控制器的硬件实时性能使得我们的客户能够实现非常精确的控制算法,同时在系统内无抖动。xCORE多核微控制器的这些优点,正是吸引诸如无人机/多轴飞行器这样的高可靠性、高实时性应用用户的关键之处。”多轴飞行器需要用到四至六颗无刷电机(马达),用来驱动无人机的旋翼。而马达驱动控制器就是用来控制无人机的速度与方向。原则上一颗马达需要配置一颗8位MCU来做控制,但也有一颗MCU控制多个BLDC马达的方案。
多轴无人机的EMS/传感器
于用 MEMS传感器测量角度变化,一般要选择组合传感器,既不能单纯依赖加速度计,也不能单纯依赖陀螺仪,这是因为每种传感器都有一定的局限性。比如说陀螺仪输出的是角速度,要通过积分才能获得角度,但是即使在零输入状态时,陀螺依然是有输出的,它的输出是白噪声和慢变随机函数的叠加,受此影响,在积分的过程中,必然会引进累计误差,积分时间越长,误差就越大。这就需要加速度计来校正陀螺仪,因为加速度计可以利用力的分解原理,通过重力加速度在不同轴向上的分量来判断倾角。由于没有积分误差,所以加速度计在相对静止的条件下可以校正陀螺仪的误差。但在运动状态下,加速度计输出的可信度就要下降,因为它测量的是重力和外力的合力。较常见的算法就是利用互补滤波,结合加速度计和陀螺仪的输出来算出角度变化。

ADI亚太区微机电产品市场和应用经理表示,ADI产品主要的优势就是在各种恶劣条件下,均可获得高精度的输出。以陀螺仪为例,它的理想输出是只响应角速度变化,但实际上受设计和工艺的限制,陀螺对加速度也是敏感的,就是我们在陀螺仪数据手册上常见的deg/sec /g的指标。对于多轴飞行器的应用来说,这个指标尤为重要,因为飞行器中的马达一般会带来较强烈的振动,一旦减震控制不好,就会在飞行过程中产生很大的加速度,那势必会带来陀螺输出的变化,进而引起角度变化,马达就会误动作,最后给终端用户的直观感觉就是飞行器并不平稳。
随着无人机的功能不断增加,GPS传感器、红外传感器、气压传感器、超声波传感器越来越多地被用到无人机上。方案商已经在利用红外和超声波传感器来开发出可自动避撞的无人机,以满足将来相关法规的要求。集成了GPS传感器的无人机则可以实现一键返航功能,防止无人机飞行丢失。而内置了GPS功能的无人机,可以在软件中设置接近机场或航空限制的敏感地点,不让飞机起飞。
。 (本文来源网友上传,如有侵权,可联系管理员删除)
版权声明:网站转载的所有的文章、图片、音频视频文件等资料的版权归版权所有人所有。如果本网所选内容的文章作者及编辑认为其作品不宜公开自由传播,或不应无偿使用,请及时联络我们,采取适当措施,避免给双方造成不必要的经济损失。