• 周二. 10 月 14th, 2025

小型发电机组并网控制器

4 月 4, 2019

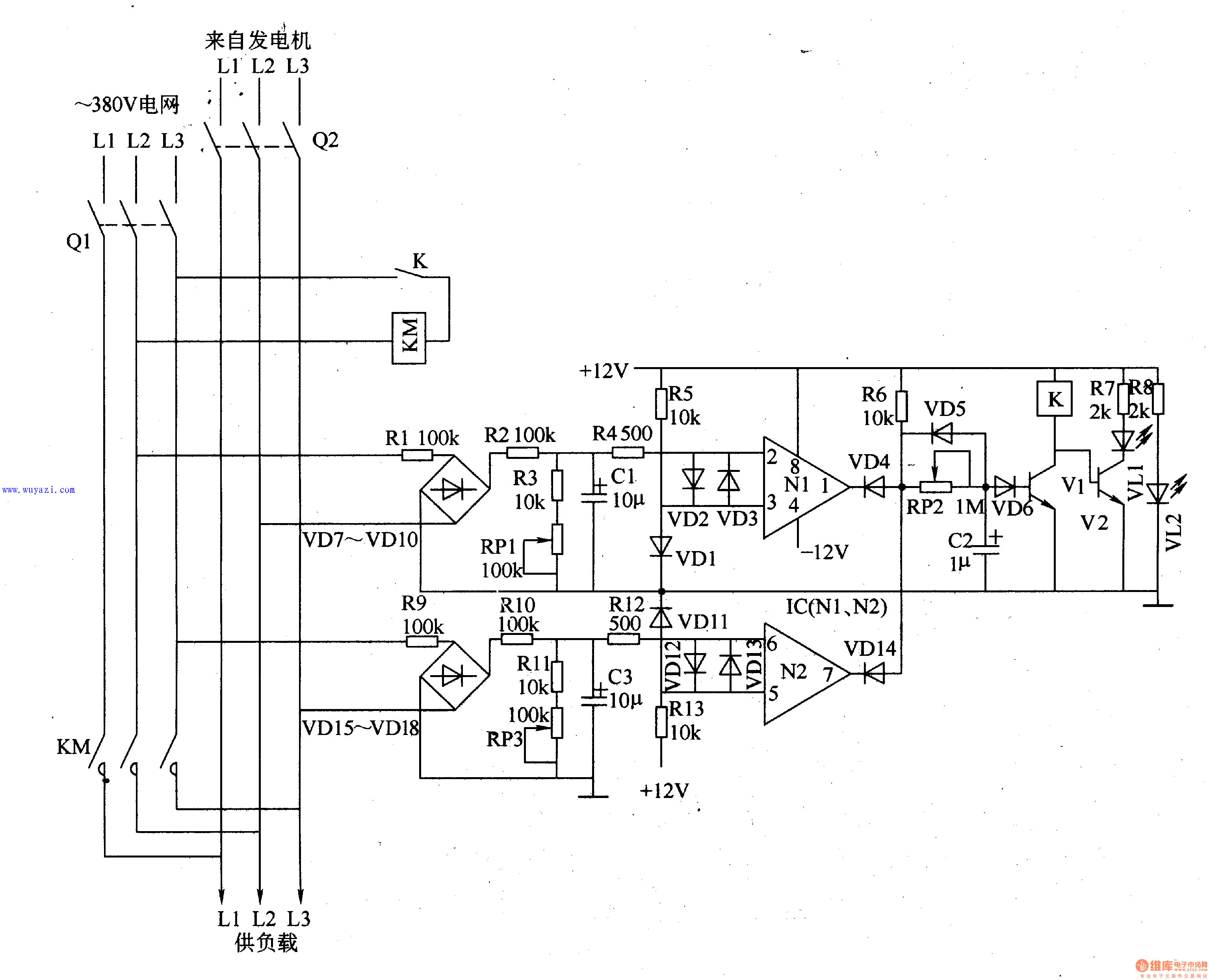
小型燃油发电机组或水轮发电机组与电网并网的条件是:发电机组输出的三相交流电的电压、频率、相序必须与电网相同。本例介绍的小型发电机组并网控制器,能对发电机组的输出电压进行自动检测控制,在其符合并网条件时自动完成并网工作。
  需要说明的是:小型发电机组与电网并网时,须经电管部门的批准及检测合格后方可实施。
  电路工作原理
  该小型发电机组并网控制器电路由取样电路、比较器电路、延时控制电路和工作状态指示电路组成,如图5-167所示。
查看联系方式

版权声明:网站转载的所有的文章、图片、音频视频文件等资料的版权归版权所有人所有。如果本网所选内容的文章作者及编辑认为其作品不宜公开自由传播,或不应无偿使用,请及时联络我们,采取适当措施,避免给双方造成不必要的经济损失。