摄像机定期间断拍摄自动控制器电路设计如下:
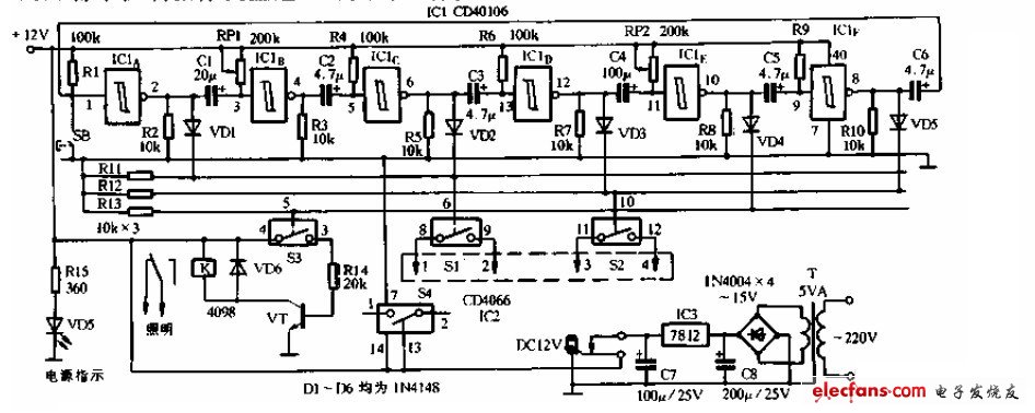
本控制器所在的原件易于购置,成本极低,容易制作,工作可靠,是电教工作者的好帮手。如下图所示该控制器是电原理图。图中的IC1A(CD40106)中的6个独立的施密特触发器,
1~6.8~13为各个触发器输入,输出端引脚。7脚接电源负极,14脚接电源正级。数字模拟开关集成电路IC2(CD4066)中的4个独立双向模拟开关,本电路仅用其中的S1,S2,S3 3个模拟开关,S4空着不用。
在这些模拟开关中,当他们的控制端,即5,6,10,13脚为低电平时,开关断开,高电平时,开关闭合。S1的8,9脚S2的11,12脚分别与摄像机的拍摄开关和待命开关的俩端并联,本控制就是利用S1,S2的开合来控制
摄像机上述俩开关的开合。如下图所示:
。 (本文来源网友上传,如有侵权,可联系管理员删除)
版权声明:网站转载的所有的文章、图片、音频视频文件等资料的版权归版权所有人所有。如果本网所选内容的文章作者及编辑认为其作品不宜公开自由传播,或不应无偿使用,请及时联络我们,采取适当措施,避免给双方造成不必要的经济损失。