简易信号发生器电路图(一)
该电路是某监控装置模型机有关计时和音响电路部分。包括15~20秒周期脉冲波、秒信号和800Hz音响电路。
IC1和R18、R19、C12组成无稳态多谐振荡器,振荡周期T=0.693(R18+2R19)C12,根据需要,可改变R19,改变周期和占空比。
IC2和R23、R24、C13组成秒时钟振荡器;IC3为800Hz音频振荡器,它的控制端5脚受控于VT1的导通或截止状态,可发出变音调的音响。

简易信号发生器电路图(二)
文氏电桥振荡器是最经典的正弦信号产生器,其优点是:不仅振荡较稳定,波形良好,而且振荡频率在较宽的范围内能方便地连续调节。将RC串并联选频网络和放大器结合起来即可构成RC振荡电路,放大器件可采用集成运算放大器。 RC串并联选频网络接在运算放大器的输出端和同相输入端之间,构成正反馈,接在运算放大器的输出端和反相输入端之间的电阻,构成负反馈。正反馈电路和负反馈电路构成一文氏电桥电桥。

由文桥选频电路和放大器组成正弦波发生器的电路原理图
简易信号发生器电路图(三)
本电路可以做为音频信号源,用于对各种音频电路的检修测量。当电源接通后555就开始音频振荡,通过C2电容器耦合输出。其振荡过程是:首先通过R1、R2使C1充电,当C1上电压达到约2/3VCC,时,555输出端3脚由高电平变为低电平。7脚与1脚之间导通,接着C1通过R2放电,C1上电压下降到约1/Vcc,时,555的7脚与1脚之间截止,3脚输出变成高电平。如上所述,C1重复进行充电一放电,就形成音频振荡。输出振荡信号高电平接近Vcc,低电平接近0V。振荡频率约为: f=1.44/(R1+2R2)C1按图中元器件值,振荡频率约580Hz。

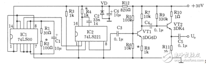
简易信号发生器电路图(四)
在很多设备的检测中,需脉冲信号源,但标准的脉冲信号源电路较为复杂,价格较高,电子爱好者不易办到。为此,本文设计一款简单脉冲信号发生器,其效果较为理想。
本信号发生器主要采用两块TTL集成电路(74LS00和74LS221),由于TTL中的晶体管工作于饱和区域,因此电路工作稳定,输入输出阻抗比较低,不易受到周围杂散电磁场的干扰,开关速度快,功耗低,使电路的抗干扰度得到提高。74LS00由四个与非门组成,其中三个构成方波振荡电路,由最后一个与非门的输出反馈到第一个与非门的输入,因此经过了奇数次的反相,使信号相位相反,激起电路来回振荡,接入电阻和电容就可以得到频率可调的振荡电路。

简易信号发生器电路图(五)
LM1458简单的函数发生器
这里被称为一个简单的函数发生器电路采用LM1458。LM1458是一款双通用运算放大器。内LM1458的两个运算放大器都有一个共同的偏置网络,电源供应线,在操作相互独立。该LM1458不需要外部频率补偿电路和内置短路保护。LM 1458具有宽电源电压范围,这是在8针微型DIP封装。
说明
四运放(2)从每个IC是用在函数发生器电路。第一运算放大器IC 1A有线作为一个非稳态mulTIvibrator.R1反馈电阻和C1是电容IC 1A的输出的时机是从R3及R2.The IC输出交界反馈到非反相输入端(引脚3) 1A将是一个方波,其频率可以通过改变R1或C1变化。
接下来的运放IC 1B有线integrator.R5是反馈电阻,C2是积分电容。(PIN6)IC 1B的非反相输入端与接地电阻R7。这是一个方波IC 1A的输出应用于IC 1B的反相输入端(引脚5),这是通过R4的IC 1b.The IC 1B的输出输入电阻将是一个三角波形式,因为集成了一个正方形波将导致一个三角波形。
IC 2A的另一种积分形式,其中R11是其反馈电阻和C3是集成capacitor.R6是IC 2A的输入电阻。IC 2A(引脚3)非反相输入端连接到地面使用10K的电阻R8。R9是它的输入电阻和R10的反馈电阻,IC 2B构成一个反相放大器。使用的R10和R9的值,增益反相放大器阶段将于27日,(AV = -Rf/Rin)。IC 1B的三角输出波形进一步整合使用IC 2A逆变器,使用IC 2B的电路图。
电路图
简单的函数发生器电路
注意事项。
使用+ / – 9V的双电源供电日发送电路。
山IC1和IC2的上持有。
电源必须是良好的监管和纹波。
电路只是一个基本的,不适合高端应用,噪声,谐波等函数发生器的输出目前会影响应用程序产生不利。

简易信号发生器电路图(六)
频率为100千赫~30兆赫的高频、30~300兆赫的甚高频信号发生器。一般采用LC调谐式振荡器,频率可由调谐电容器的度盘刻度读出。主要用途是测量各种接收机的技术指标。输出信号可用内部或外加的低频正弦信号调幅或调频,使输出载频电压能够衰减到1微伏以下。
此高频信号发生器由高频石英晶体振荡电路和告警电路组成。其工作原理为:振荡器电路由稳压管VD1和三极管VT1,石英晶体谐振器SJT,电容器C1、C2并联谐振槽路以及其它电阻、电容等原件组成。该振荡器为单管调谐变量器反馈式振荡电路,在反馈回路中,串接了石英晶体谐振器SJT,振荡频率工作在石英晶体谐振器相串联的固定电容C2,空气微调电容器C1 用来补偿石英晶体谐振器获得最佳的激励功率。

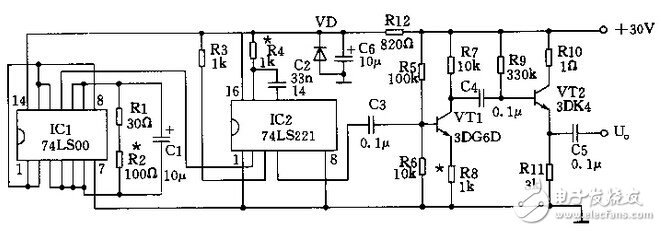
简易信号发生器电路图(七)

所示为简易脉冲信号发生器电路。该信号发生器主要采用两块TTL集成电路(74LS00和74LS221)产生τ=4μs的脉冲信号,所用元器件较少,便于调试和维修。
简易信号发生器电路图(八)
低频信号发生器包括音频(200~20000赫)和视频(1赫~10兆赫)范围的正弦波发生器。主振级一般用RC式振荡器,也可用差频振荡器。为便于测试系统的频率特性,要求输出幅频特性平和波形失真小。
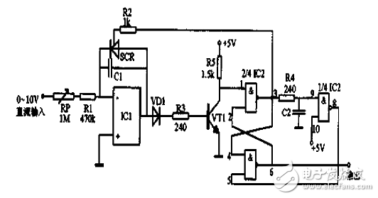
本电路具有良好的线性和精度,输出为每秒1000个脉冲时,误差只有1%。如果每秒10个脉冲,其误差可以减少到0.001%。由于可控硅整流器SCR的阴极是连接到运算放大器的相加点。所以应采用负电压控制。对于正输入电压可以倒相后输入。
电路复位是由R-S触发器和延时倒相器来完成。平时触发器Q输出端为低电平,故可控硅SCR截止,积分器的输出通过二极管VD1加至三极管VT1的基极。当积分器输出达到大约1.4V的时候,晶体管导通,使触发器置位。此时触发器的Q输出变成高电平,可控硅SCR导通,积分电容放电。Q输出的高电平经 1us延时和倒相后使触发器复位,积分电容C放电到大约0.7V的时候,可控硅截止,于是第二个积分周期开始。

。 (本文来源网友上传,如有侵权,可联系管理员删除)
版权声明:网站转载的所有的文章、图片、音频视频文件等资料的版权归版权所有人所有。如果本网所选内容的文章作者及编辑认为其作品不宜公开自由传播,或不应无偿使用,请及时联络我们,采取适当措施,避免给双方造成不必要的经济损失。