调幅电路是把调制信号和载波信号同时加在一个非线性元件上(例如晶体二极管或三极管)经非线性变换成新的频率分量,再利用谐振回路选出所需的频率成分。
调幅电路分为二极管调幅电路和晶体管基极调幅、发射极调幅及集电极调幅电路等。
1、基极调幅电路
图1是晶体管基极调幅电路,载波信号经过高频变压器T1加到BG的基极上,低频调制信号通过一个电感线圈L与高频载波串联,C2为高频旁路电容器,C1为低频旁路电容器,R1与R2为偏置的分压器,由于晶体管的ic=f(ube)关系曲线的非线性作用,集电极电流ic含有各种谐波分量,通过集电极调谐回路把其中调幅波选取出来,基极调幅电路的优点是要求低频调制信号功率小,因而低频放大器比较简单。其缺点是工作于欠压状态,集电极效率较低,不能充分利用直流电源的能量。
2、发射极调幅电路
图2是发射极调幅电路,其原理与基极调幅类似,因为加到基极和发射极之间的电压为1伏左右,而集电极电源电压有十几伏至几十伏,调制电压对集电极电路的影响可忽略不计,因此射极调幅与基极调幅的工作原理和特性相似。
3、集电极调幅电路
图3是集电极调幅电路,低频调制信号从集电极引入,由于它工作于过压状态下,故效率较高但调制特性的非线性失真较严重,为了改善调制特性,可在电路中引入非线性补尝措施,使输入端激励电压随集电极电源电压而变化,例如当集电极电源电压降低时,激励电压幅度随之减小,不会进入强压状态;反之,当集电极电源电压提高时,它又随之增加,不会进入欠压区,因此,调幅器始终工作在弱过压或临界状态,既可以改善调制特性,又可以有较高的效率,实现这一措施的电路称为双重集电极调幅电路。
采用图4的集电极、发射极双重调幅电路也可以改善调制特性。注意变压器的同名端,在调制信号正半波时,虽然集电极电源电压提高,但同时基极偏压也随之变正,这就防止了进入欠压工作状态;在调制信号负半波时,虽然集电极电压降低,但基极度偏压也随之变负,不致进入强过压区,从而保持在临界、弱过压状态下工作。

图一、基极调幅电路

图二、发射极调幅电路

图三、集电极调幅电路

图四、双重调幅电路
调幅发射机电路图(一)
调幅信号源的设计
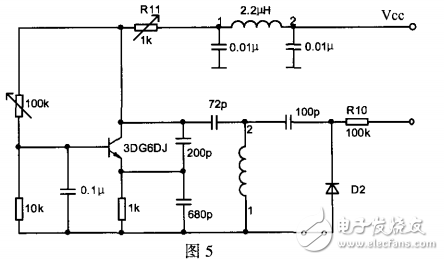
(1)本振电路设计本振信号的产生采用西勒电路的接法,产生一14.6MHz左右的频率。具体电路接法如图5所示,其中,引脚1,2间为一可调电感。

(2)锁相环电路设计
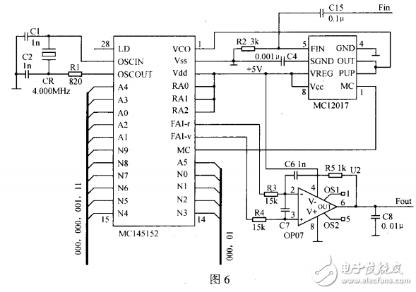
本振信号输出到由MC145152和MC12017构成的电路中,构成锁相环。
MC145152是MOTOROLA公司生产的大规模集成电路,它是一块采用半行码输人方式置定、由14根并行输入数据编程的双模CMOS-LSI锁相环频率合成器。该芯片内含参考频率振荡器、可供用户选择的参考分频器(12x8ROM参考译码器和12bit-R计数器)、双端输出的鉴相器、控制逻辑、10位可编程的10bit-N计数器、6位可编程的6bit/A计数器和锁定检侧等部分。其中,lObit/N计数器·6bit/A计数器、模拟控制逻辑和外接双模前置分频器12017组成吞脉冲程序分频器,吞脉冲程序分频器的总分频比为D=VN+A。本任务只要求输出15MHz的信号,故将A,N固定接为A=01,N=0111, 1000(binary),电路接法如图6。

(3)振幅调制电路设计
振幅调制即使载波峰值正比于调制信号的瞬时值的变换过程。MC1496构成的振幅调制器电路如图7所示。其中载波信号经高频祸合电容C1从10脚输人,C3为高频旁路电容,使8脚接地。调制信号经低频祸合电容C2,从1脚输人。调幅信号从12脚单端输出。器件采用双电源供电方式,所以5脚的偏置电阻R5接地。

此外,为了使输出幅值达到1.0+-0.1V,所以后接一电压跟随和射极放大器用作调节,如图8所示。

2.高效高频功率放大级的设计
该部分采用功率合成技术,应用了传输线变压器组成的反相功率合成电路。由于高频功率放大级的输人等效阻抗电阻小,故前级需要接激励级,以免信号源输出的信号被拉得过低。
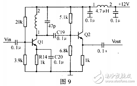
(1)前级激励级
需要较高的放大倍数以及较低的输出电阻,故而采用谐振放大电路和电压跟随器级联。为了方便可调,用一个可调中周来调节其谐振频率,具体的电路如图9所示,该电路输人阻抗较低,输出阻抗较高,为使前后级阻抗匹配,输人与输出端用中周实行阻抗变换以降低功率的衰减。

(2)高效高频功率放大级
该部分最重要的为传输线变压器的应用,这种变压器是用传输线(例如,两根紧塞的平行线、扭纹线、带状传输线或同轴线等)绕在高磁导串的铁芯磁环上构成,传输线变压器的工作原理是传输线原理与变压器原理的结合,那么它的工作也可分为两种方式:一种是按照传输线方式来 工作,即在它两个线圈中通过大小相等、方向相反的电流,磁芯中的磁场正好互相抵消。因此,磁芯没有功率损耗,磁芯对传轴线的工作没有什么影响。这种工作方式称为传输线模式;另一种是按照变压器方式工作,此时线圈中有激磁电流,并在磁芯中产生公共磁场,有铁芯功率损耗。这种工作方式称为变压器模式。传输线变压器通常同时存在着这两种模式或者说传输线变压器正是利用这两种模式来适应不同的功用的。普通变压器绕组间的分布电容是限制它工作带宽的主要因素,而在传输线变压器中,绕组间的分布电容则成为传输线特性阻抗的一个组成部分。因而这种变压器可以在很宽的频带(可达几百MHz)范围内获得良好的响应。这种变压器极适合于作为高频宽带祸合网络之用。
在高频率时,传输线模式起主要作用,此时初级次级之间的能量传输主要依靠线圈之间分布电容的藕合作用;在低频率时,变压器模式起主要作用,初级次级之间的能量传输主要依靠线圈的磁祸合作用。为了扩展低频响应范围,应该加大初级线圈的电感量,但同时线圈总长度又不能过大,因此采用高频磁芯来解决圈数少,而初级 线圈电感量又足够大的问题。最常用的为1:4的阻抗传输线变压器。由此种传输线变压器组成的功率合成电路能较好的解决高效率、大功率与宽频带等问题。反相功率合成电路如图10上半部分所示。

调幅发射机电路图(二)
下面介绍一款AM发射电路,其发射频率可在500~1600kHz之间调整,电路原理图如图所示。
C1、C2、L1、VT2组成调幅振荡器电路,振荡频率可以通过调整C1的电容量来调整。音频信号经过VT1及其外围元件组成的放大电路放大后,再经过RP1,C3耦合到VT2基极,与VT2荡器产生的载波叠加在一起后通过发射天线将音频信号发射出去。发射天线可以用一根1m左右的金属导线代替。元器件参数见图。

调幅发射机电路图(三)
电阻R1和R2是利用直流偏置晶体管T1。电容C1为耦合之间的电容式麦克风和晶体管T1的基础。以同样的方式,电阻R3,R4和R5提供直流偏置晶体管T2的。
振荡器段是一个晶体管T2的,水晶的XTAL,电容C2,C3和电阻R3,R4和R5的组合。晶体晶体管T2的集电极部分的能量,通过反馈电容C2兴奋。其基本频率和晶体的震动,因为水晶振荡发生放置晶体管T2基地横跨电阻R4。使用这种方法,取得了连续无阻尼振荡。在此电路可取代任何晶体在短波范围内的频率,即使操作尝试使用12MHz晶振。

。 (本文来源网友上传,如有侵权,可联系管理员删除)
版权声明:网站转载的所有的文章、图片、音频视频文件等资料的版权归版权所有人所有。如果本网所选内容的文章作者及编辑认为其作品不宜公开自由传播,或不应无偿使用,请及时联络我们,采取适当措施,避免给双方造成不必要的经济损失。